Description
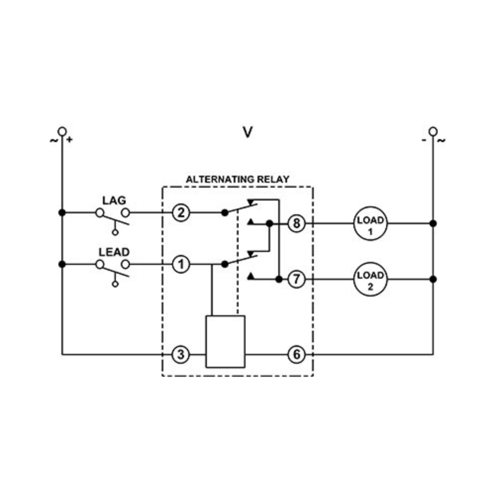
The Macromatic ARP120A3R Duplex Alternating Relay is engineered to optimize the performance and longevity of your two-pump systems, particularly in applications where precise control and alternation are critical, such as duplex pumping. This sophisticated relay features a cross-wired DPDT output, allowing for intelligent management of lead and lag pumps based on independent “LEAD Switch” and “LAG Switch” inputs. It ensures that pumps alternate their operating cycles, preventing single-pump over-usage and promoting even wear. The ARP120A3R’s design includes clear LED indicators for active loads and a convenient selector switch for various operational modes. This robust and reliable relay is an ideal solution for extending the life of pumps and enhancing the efficiency of water/wastewater treatment, HVAC, and industrial fluid management systems.
Key Features
- Duplex Alternation with Cross-Wired Control: Specifically designed for two-pump systems, employing independent LEAD and LAG switch inputs for advanced control logic and alternation.
- Enhanced Pump Lifespan: Automatically alternates lead and lag pumps with each cycle, distributing wear evenly and extending equipment operational life.
- Clear Load Status Indicators: Equipped with dedicated “LOAD 1” and “LOAD 2” LEDs for immediate visual confirmation of the active pump.
- Flexible Operation Modes: Features a selector switch offering “ALTERNATE,” “LOAD 1,” and “LOAD 2” modes, providing adaptability for various system requirements.
- High Current Switching Capability: Robust DPDT contacts rated for 10A at 240V AC/24V DC, capable of handling significant motor loads.
- Durable and Long-Lasting: Boasts an impressive mechanical life of 10 million operations and a full-load life of 100,000 operations for reliable long-term use.
- Standard Socket Compatibility: Designed for use with an 8-pin octal socket (Macromatic 70169-D recommended) for straightforward installation and maintenance.









Reviews
There are no reviews yet.